According to xpertpick.com, filed under application number 18294508 and published on 27 March, the patent ditches the old-school, back-panel pad charging for something a little more sci-fi. Instead of slapping your mobile face-up or face-down on a dock, Google's concept lets it suck up power directly through its screen while still showing you a Netflix episode or Spotify playlist.
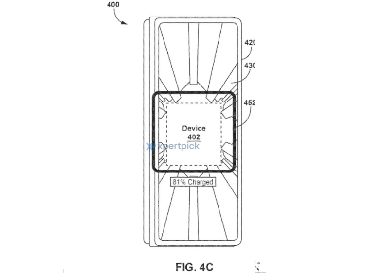
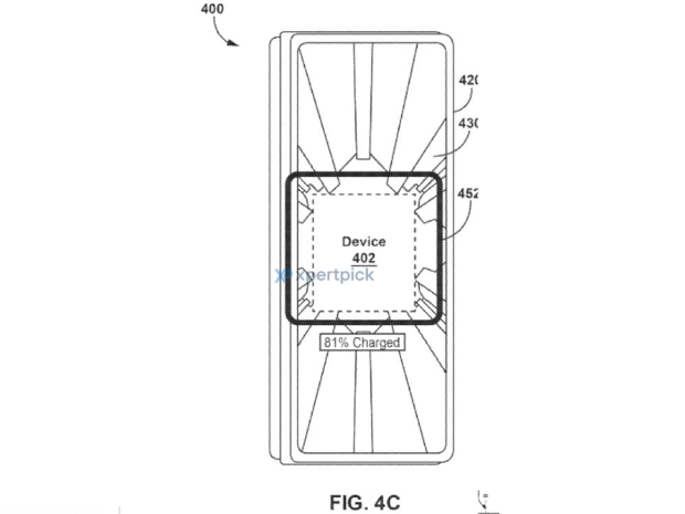
One sketch depicts a device displaying “81% Charged” across a sky-blue screen, with a charging coil positioned underneath. Others reveal a cross-section of the innards—coil, shielding layer, and all—designed to maintain display clarity while siphoning electrons.
There’s also a nifty trick where the phone can flip roles and act as a charger. In theory, your mobile device could charge another device, such as a smartwatch or earbuds, simply by placing them on its screen—no need to fiddle with cables or ports.
Before the screen gets hot with activity, the system first detects if the connected gadget is compatible. If it is, the display and touch sensors take a nap to improve the energy handoff.
Google is also experimenting with display shielding tweaks to ensure it doesn’t compromise performance while playing the energy-saving game.
Of course, this being a patent, it may never see the light of day. But it’s another sign that Google wants to make wireless charging feel, well, wireless.


